请款池
一、请款池视频讲解
二、业务流程
请款池按照采购单的结算方式:现结/月结,进行请款,分为货款现结、货款月结;
当采购单的结算方式为现结,采购单状态下单后会进入到请款池对应货款现结,可查看采购单的已付金额和未付金额情况,且对采购单按预付比例申请预付款,支持相同或者不同供应商的支持批量申请付款;
当采购单的结算方式为月结,采购单状态到货后,采购单对应的入库单会推送到请款池-货款月结,按采购单对应的入库单进行请款操作。
针对发货单和海外仓备货单产生的物流费用、其他费用、税费等进行请款、付款操作流程。

三、操作步骤
1.开通权限
管理员默认开启请款池权限,其他人员需要到设置模块角色管理页面开启此功能,操作如下:
2.请款池操作路径
菜单财务>付款管理进入请款池。

3.请款池-货款现结
货款现结的采购单不会出现在货款月结当中
(1)数据来源:同步已下单采购,即待到货和已完成状态的采购单;
(2)单据状态:未付清、已付清状态;
(3)未申请:未申请过请款的采购单;
(4)申请中:已申请请款但未有付款金额的采购单;
(5)部分付款:有付款金额但未付清的采购单;
(6)已付清:付款金额大于或等于应付金额的采购单。

金额计算公式:
添加请款单:申请折扣金额,请款单添加成功后,折扣金额即生效。申请货值默认为采购货值 x 预付比例 ,预付比列修改,申请货值也会重新核算。
采购金额=货值+运费+其他费用;
应付金额=采购金额-折扣金额;
实付金额=已付金额-已收金额;
未申请=未申请货值+未申请运费+未申请其他费用;
申请中=申请金额-已付金额。
请款:可对单张采购单申请请款,支持批量请款。
一次最多可请款的条数:50条,超过则取列表前50条进行请款
相同供应商批量请款
(1)相同供应商请款、和不同供应商批量请款页面样式不同;
(2)货款(不含1688)请款时,可以在页面上选择币种,选择的币种和采购币种不一致时会出现汇率取值规则,默认付款指定汇率,即在付款时确定汇率;
(3)汇率取值规则可以切换为请款指定汇率,即为请款人确定汇率,此时可以在页面上填写汇率,默认值计算公式:取值汇率管理中货币代码为业务发生币种我的汇率 / 货币代码为切换的币种我的汇率(先把业务发生币种转换成人民币,再转换成付款币种)
在页面上会显示经过汇率转换后的新币种金额,折合新币种金额=原币金额*汇率。
结束请款:
因某些原因未付清采购单不需继续请款,可操作结束付款,结束付款后采购单变更为已付清状态。
(4)不同的供应商批量请款,相同的供应商、同币种会生成一张请款单;
(5)供应商信息会带到请款单,支持在请款单进行填入或修改。
4.请款池-货款月结
(1)数据来源:同步采购单快捷入库和到货产生的入库单;
(2)单据状态:未申请,已申请,已付清状态;
(3)待申请:未申请过或者部分请款的入库单;
(4)全额申请:选择采购单维度时,申请过一次将进入全额申请页面,选择入库单维度时,申请入库单全部金额才会进入全额申请页面;
(5)已付清:已申请请款并已付款的入库单。
添加请款单:
请款时先确定请款的维度,目前分采购单维度和入库单维度:
选择采购单维度,申请金额将直接计入采购单上,不会记录到某个入库单本次请款金额有多少,并且,一个入库单只能请款一次;
选择入库单维度,申请金额会记录到对应入库单上,一个入库单支持多次请款。
一个采购单只支持一种请款维度,未请款的采购单请款维度显示为“-”。
存在预付款时,只支持采购单维度请款
请款维度会显示在页面上,不同请款维度不可以批量请款。

选择采购单维度请款:
请款单对同一采购单的入库单进行归类,核算出采购单需要请款的入库数量和到货金额。申请货值默认为到货金额 x (1-预付比例) ,预付比列修改,申请货值也会重新核算。
当前入库单只能请款一次,入库单关联的请款单已完成后,入库单即变更为已付清状

结束请款:因某些原因入库单不需继续请款,可操作结束付款,结束付款后入库单变更为已付清状态。
选择入库单维度请款:
需要在入库单行上填写本次申请和本次折扣,会汇总到采购单行上。
在系统识别到本次是最后一次请款时(到货量=采购量,并且之前入库单被全额申请,且本次是全额申请),如果有尾差,在采购单上本次申请金额会自动补尾差。如下面例子所示。
添加请款单后,会在页面上显示对应到入库单上的请款金额、折扣金额、未申请金额,未申请金额大于0的时候支持请款和结束请款,结束请款后状态将置为已付清。

退货补货场景:
当有退货补货时,如果未申请金额为0,并且已经付清,会自动将补货的入库单状态置为已付清。当选择的入库单金额之和超过未申请金额时,默认金额会设置为0,用户需要自行填写申请金额;
退货扣款场景:
当选择的入库单金额之和超过未申请金额时,默认金额会设置为0,用户需要自行填写申请金额。
已经使用入库单维度请款后,不能再变更预付比例。
5.请款池-货款预付款
采购单状态从待下单变为待到货时,若结算方式选择月结,且预付比例>0,则在请款池货款预付款中自动生成一条预付款单,可在未到货的情况下对预付款单进行请款。
点击请款进入添加请款单页面,请款操作同货款现结请款;
请款单提交后,采购单未付金额将扣减预付款请款金额,货到后在月结页面请尾款时,将在采购单未付金额范围内进行请款操作。添加月结请款单时系统默认申请金额=到货金额x(1-预付比例),支持修改。
采购单变更时预付款单处理:
-月结改为现结:若之前生成了预付款单,采购变更单审批通过后,自动将原先生成的预付款单删除;
-修改预付比例:若之前预付款单未请款,可修改为[0,100]的值,修改为0时,将原先生成的预付款单删除;若之前预付款单已经请款,只允许修改为大于当前预付比例的值。
6.请款池-物流请款
(1)数据来源:同步导入实际费用或者填入税费的发货单和海外仓备货单;
(2)单据状态:未付清(申请中、部分付款、未申请)、已付清状态;
(3)未申请(未申请过的发货单&海外仓备货单);
(4)申请中(已申请请款但未有付款金额的发货单&海外仓备货单);
(5)部分付款(有付款金额但未付清的发货单&海外仓备货单);
(6)已付清(付款金额等于应付金额的发货单&海外仓备货单)操作结束付款的单据状态变为已付清。


请款:可对单张发货单&备货单申请请款,同一物流商的可批量请款。
在物流商资料里维护物流商多个账户,会自动带到请款单申请页面,可以点击下拉框切换收款信息。
添加请款单:申请折扣金额,请款单添加成功后,折扣金额即生效。申请货值默认为物流费用金额 x 预付比例 ,预付比列修改,申请货值也会重新核算。 费用金额=统一单据+相同费用类型+相同币种;
应付金额=费用金额-折扣金额;
已付金额=已付金额;
未申请=未申请;
申请中=申请金额-已付金额。
结束请款:因某些原因未付清发货单&备货单不需继续请款,可操作结束付款,结束付款后发货单&备货单变更为已付清状态。
状态流场景
按照发货单号+费用类型判断:

7.其他应付款
支持费用管理页面添加其他费用后进行请款。
(1)权限配置
(2)添加费用单页面是否请款选择“是”
是否请款选择“是”;选择自定义非费用类型;选择“支出”,填写正数金额。一个费用单只能填写一个币种。

(3)请款池会根据费用单生成其他应付款单
在请款池页面,点击费用单号可以跳转到费用单详情页面。此时应付对象为空。
点击请款或在费用管理页面点击请款,跳转到添加请款单页面,应付对象必填,手动输入过一次后,后续如果还想用到,系统支持模糊搜索选择之前用过的应付对象。一个其他应付款单被请款一次后,下次请款时应付对象会被自动带出,并不支持修改。
支持批量请款,但是应付对象必须相同,否则会报错。多条应付对象为空的单据可以批量请款,默认需要批量请款的应付对象相同。
支持部分请款,请款金额不得高于未申请金额,否则会报错。费用备注为从费用单详情表头带过来的备注,请款池支持补充修改。
点击提交生成应付费用类型为“其他应付款”的请款单,应付对象类型为“手动填写”,可根据需要配置审批流,后续付款逻辑同采购请款单。支持打印。
付款后费用管理会同步请款池付款状态。
(4)请款后变更费用单限制
请款后,变更费用单金额时会校验,不能小于申请中和已付款的金额。并且不能修改币种,不能作废费用单,不能把是否请款改为“否”。如果需要进行相关操作,先作废请款单,再进行修改。

四、常见问题
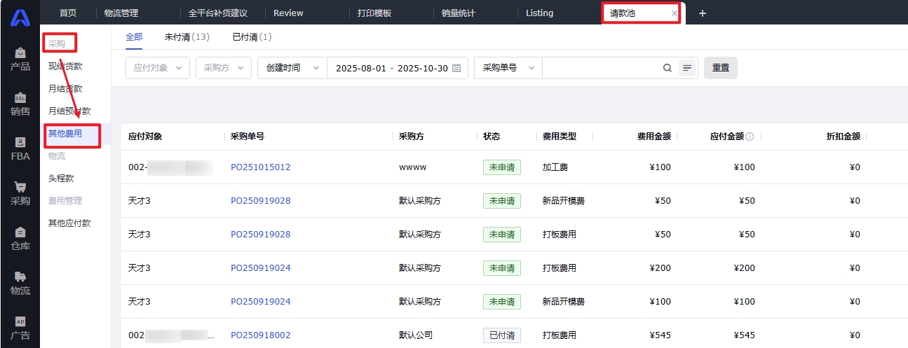
Q1:请款池的采购类型-其他费用是针对采购单的什么费用请款的?

A1:创建采购单的时候勾选其他费用旁边的多项其他费用去填写其他费用,在请款池的其他费用那里才能搜索到。

Q2:月结的采购单显示未付清,请款池却不能再请款显示已付清是为什么?
A2:一个采购单只支持一种请款维度,存在预付款时,只支持采购单维度请款。采购单到货一次一条入库单仅可请款一次,后续不能再次请款,不支持部分付款。
未能解决你的问题?请联系在线客服
请问有什么疑问?
请问有什么疑问?

